CSB-M121701USB02M121702 Banner Splitters
Part#:CSB-M121701USB02M121702
Alt. Part#:806009
Manufacturer:Banner
Category:Splitters
Product Lifecycle:Active
Product description
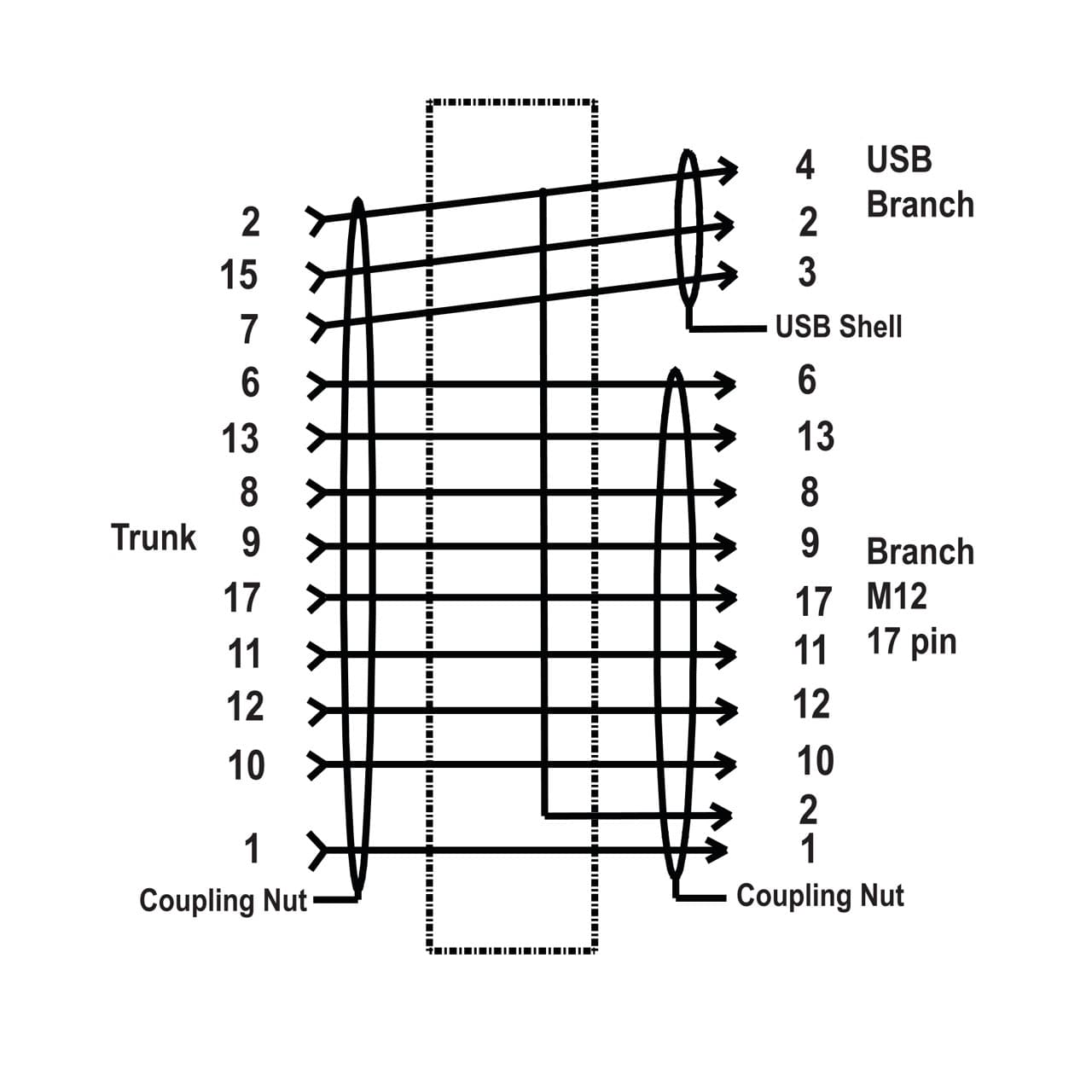
M12 Splitter Cable; 17-pin Female Straight 0.3 m (1 ft) Truck; 0.6 m (2 ft) 17-pin Male Straight Branch; 0.6 m (2 ft) USB-A Male Straight Branch; Black, PVC, Nickel-Plated Brass Coupling Nut
Product Details
- Weight 136.0776 g
- Country Of Origin TW
- Number of Contacts 38
- Shield Type Coupling
- Secondary Connector Type EURO
- Splitter Branches: Connector Type M12M, USB A
- Cordset Length (m) 0.9
- Primary AWG 24
- Splitter Cable Diameter 7.0, 4.32
- Number of Connectors 3
- Primary Connector Type EURO
- Secondary Coupling Method M12 Single Key
- Splitter Branches: Coupling Method M12 Single Key, Friction
- Coupling Material/Color Nickel Plated Brass
- Primary Orientation Straight
- Splitter Function Combiner
- Shield/No Shield Shield
- Primary Coupling Method M12 Single Key
- Splitter Branches: AWG 24, 24
- Cable Jacket Material PVC
- Minimum Temp. (°C) -40
- Secondary Number of Conductors 11
- Outside Cable Diameter (mm) 7
- Current Rating (A) 1.5
- Secondary Orientation Straight
- Cable Jacket Color Black
- Voltage Rating (V) 50 V ac/dc
- Primary Number of Conductors 12
- Splitter Branches: Number of Conductors 11, 3
- Connector Body Material/Color PUR Black
- Maximum Temp. (°C) 105
- Secondary Gender Male
- Trunk Length (m) 0.3
- Primary Gender Female
- Secondary AWG 24
- Feature: Hazardous Area No
- Splitter Branches: Orientation Straight, Straight
- Splitter Branches Length (m) 0.6, 0.6
- Oil/Grease Resistant No
Product condition
New Factory Sealed
New Factory Sealed - New condition, never used, original OEM part with original packaging and factory seal.
The price of CSB-M121701USB02M121702 on Powermatic Associates is $131.00. Order now.
About the product
Banner Engineering CSB-M121701USB02M121702 is a Y-shaped splitter cable designed for various connectivity applications. It features a 17-pin Euro-style M12 female quick-disconnect (QD) connector on a 1-foot (approximately 30cm) trunk and a 17-pin Euro-style M12 male QD connector on a 2-foot (approximately 60cm) trunk. Additionally, it includes USB-A male straight connectors on three branches, each 2 feet (approximately 60cm) in length, facilitating multiple connections from a single point.
Manufacturer warranty
CSB-M121701USB02M121702 Banner
$131.00
Your price can be lower.
Log in or Create account to check your discount
Select Qty:
$131.00
$131.00 each
Average response time: 11 minutes
Worldwide Shipping and Delivery
Secure Payment Processing
Warranty
Responsive Customer Support
Got Questions? We've Got Answers!
Need more details?
Feel free to chat with us
Compare CSB-M121701USB02M121702 with other Splitters products
Weight
Country Of Origin
Number of Contacts
Shield Type
Secondary Connector Type
Splitter Branches: Connec...
Cordset Length (m)
Primary AWG
Splitter Cable Diameter
Number of Connectors
Selected product

CSB-M121701USB02M121702
Banner
M12 Splitter Cable; 17-pin Female Straight 0.3 m (1 ft) Truck; 0.6 m (2 ft) 17-pin Male Straight Bra...
Weight136.0776 g
Country Of OriginTW
Number of Contacts38
Shield TypeCoupling
Secondary Connector TypeEURO
Splitter Branches: Connector TypeM12M, USB A
Cordset Length (m)0.9
Primary AWG24
Splitter Cable Diameter7.0, 4.32
Number of Connectors3
About the manufacturer
Powermatic Associates is an authorized Banner distributor, proud to offer an extensive range of Banner's innovative products and solutions. Banner Engineering is a renowned manufacturer specializing in industrial automation, known for their cutting-edge sensor technology, machine safety solutions, wireless connectivity, and LED lighting systems. With a precision focus on delivering high-quality eq...
Recently viewed products
Relevant products
FAQ
What is the price of CSB-M121701USB02M121702?
Purchase the CSB-M121701USB02M121702 from Powermatic Associates at the price of $131.00. Order today.
Out if stock but available for backorder.
M12 Splitter Cable; 17-pin Female Straight 0.3 m (1 ft) Truck; 0.6 m (2 ft) 17-pin Male Straight Branch; 0.6 m (2 ft) USB-A Male Straight Branch; Black, PVC, Nickel-Plated Brass Coupling Nut
Similar products from: Splitters
What can I help you find today?




















